西安泰源环保科技有限公司欢迎您!
西安污水处理设备-医院污水处理-污水处理设备厂家-一体化处理设备
客服热线029-88385231 15339264256
农户四格化粪池+人工湿地

农户四格化粪池+人工湿地

作者:admin    来源:西安泰源    发布时间:2019-01-05 11:36    浏览量:

       农村四格污水处理设备
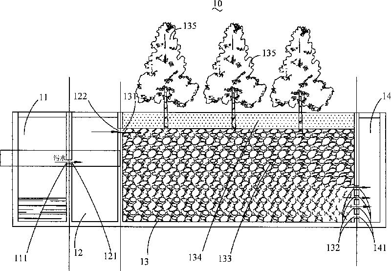
       一种农村户用人工湿地污水处理装置,包括化粪池、沉淀池、人工湿地 池及储水池,化粪池、沉淀池、人工湿地池及储水池依次并排放置,化粪池、 沉淀池、人工湿地池及储水池的高度相同。化粪池具有排水孔,化粪池的排 水孔与沉淀池连通;沉淀池具有进水孔及排水孔,沉淀池的进水孔、排水孔 对应的设置在沉淀池的相对的侧壁上,且沉淀池的进水孔的高度低于排水孔 的高度,沉淀池的进水孔与化粪池的排水孔连通且沉淀池的进水孔的高度与 化粪池的排水孔的高度相同,沉淀池的排水孔与人工湿地池连通。人工湿地 池具有进水孔及排水孔,人工湿地池的进水孔、排水孔对应的设置在人工湿 地池的相对的侧壁上,且人工湿地池的排水孔的高度低于进水孔的高度,人 工湿地池的进水孔与沉淀池的排水孔连通且人工湿地池的进水孔的高度与沉 淀池的排水孔的高度相同,人工湿地池的排水孔与储水池连通,人工湿地池 中由下至上依次设置有滤料层、保温层,人工湿地池中还种植有去污植物, 且去污植物的根部种植在滤料层中。储水池具有进水口,人工湿地池的排水 孔与储水池的进水口连通,且人工湿地池的排水孔的高度与储水池的进水口 的高度相同。
     滤料层采用碎石或卵石铺设而成。保温层采用锯末或稻壳铺设而成。化粪池、沉淀池、人工湿地池及储水池的池壁一体成型。化粪池、沉淀池、人工湿地池及储水池的池壁采用普通钢筋混凝土或玻璃钢或氯镁钢筋混凝土材料制成。去污植物为常青树。
 农村户用人工湿地污水处理装置中,化粪池、沉淀池、人工湿地池 及储水池依次并排放置,通过化粪池、沉淀池来对污水中的固化物进行沉淀 及水解,经过化粪池、沉淀池处理后的污水再进入人工湿地池,利用人工湿 地池中的滤料层及去污植物实现对污水进行物理、化学以及生物反应,继而 使得污水得到净化并收集在储水池中以作中水使用。
 
上一篇:没有了

相关新闻推荐

友情链接: 泰源环保 西安污水处理设备

在线客服 : 服务热线:029-88385231 15339264256 电子邮箱: 2487781501@qq.com

公司地址:西安市高新区科技路68号

西安泰源环保科技有限公司坐落在世界名城十三朝古都西安,与西北工业大学、陕西科技大学等国内众多高校、科研部门密切合作,致力于环保新技术产品(污水处理、大气治理)研发、生产、销售及提供专家级教授环保技术咨询于一体的高新科技企业。 主要涉及污水处理中(生活污水、医疗污水、工业废水、中回水)除铁、除锰、除盐、城市空气净化、油烟净化、消毒处理设备(二氧化氯发生器、臭氧发生器、紫外线)等成套环保处理系列专业服务。 公司长期以诚信、品质、专注、创新...

微信联系方式
备案:
Copyright ©2014-2022; 版权所有:西安泰源环保科技有限公司